頻率:12~52MHZ
尺寸:5.0mmx3.2mm
5032mm水晶振動子,PDI高品質晶振,C5系列晶體,13MHZ晶振,尺寸5.0mmx3.2mm,頻率12~52MHZ,PDI四腳貼片晶振,歐美無源晶體,石英貼片晶振,石英晶體諧振器,超薄型晶體諧振器,5032mm無源晶振,無源晶振,SMD晶振,無源石英晶體,高性能晶振,高質量晶振,高精度晶振,低損耗晶振,低功耗晶振,低成本晶振,智能手機晶振,無線設備晶振,數碼相機晶振,智能家居晶振,移動通信晶振,網絡設備晶振,便攜式設備晶振,具有低成本低損耗高性能的特點。
石英晶振產品特別適合用于智能手機,無線設備,數碼相機,智能家居,移動通信,網絡設備,便攜式設備等應用。5032mm水晶振動子,PDI高品質晶振,C5系列晶體,13MHZ晶振.
5032mm水晶振動子,PDI高品質晶振,C5系列晶體,13MHZ晶振,尺寸5.0mmx3.2mm,頻率12~52MHZ,PDI四腳貼片晶振,歐美無源晶體,石英貼片晶振,石英晶體諧振器,超薄型晶體諧振器,5032mm無源晶振,無源晶振,SMD晶振,無源石英晶體,高性能晶振,高質量晶振,高精度晶振,低損耗晶振,低功耗晶振,低成本晶振,智能手機晶振,無線設備晶振,數碼相機晶振,智能家居晶振,移動通信晶振,網絡設備晶振,便攜式設備晶振,具有低成本低損耗高性能的特點。
石英晶振產品特別適合用于智能手機,無線設備,數碼相機,智能家居,移動通信,網絡設備,便攜式設備等應用。5032mm水晶振動子,PDI高品質晶振,C5系列晶體,13MHZ晶振.
5032mm水晶振動子,PDI高品質晶振,C5系列晶體,13MHZ晶振 參數表
| PARAMETER |
MINI- MUM |
MAXI- MUM |
UNITS | |||||
| Center Frequency | 12 | 52 | MHz | |||||
| Maximum Series Resistance (See Note 3) | 70 | Ohms | ||||||
| Frequency Stability at +25°C (See Note 2) | + 10 | +50 | ppm | |||||
| Frequency Stability Over Temperature | +10 | +50 | ppm | |||||
| Operating Temperature Range (See Note 2) | -20 to 70 | °C | ||||||
| Storage Temperature Range | -40 to 85 | °C | ||||||
| Drive Level | 300uW | |||||||
| Shunt Capacitance | 7.0 | pF | ||||||
| Motional Capacitance | Customer Specified | |||||||
| Load Capacitance |
18 (Customer Specified) |
pF | ||||||
| Aging per year | +5 | ppm | ||||||
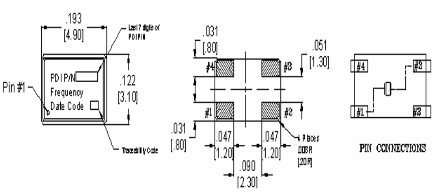
5032mm水晶振動子,PDI高品質晶振,C5系列晶體,13MHZ晶振 尺寸圖
5032mm水晶振動子,PDI高品質晶振,C5系列晶體,13MHZ晶振
無源晶振產品特性:
C5的成本很低
小尺寸晶體
用于緊身板應用。


